Vladimir
вообще prefetch
Vladimir
80483fc: 0f 18 83 ec 0c 68 b0 prefetchnta BYTE PTR [ebx-0x4f97f314]
Vladimir
а общих опкодов какбы нет, есть асм
чиво? все опкоды общие, могут отличаться расширенные, но они описаны в отдельной спецификации и для них резервируется флаг CPUID. По идее, грамотный бинарник должен стартовать на любом проце, и в зависимости от флагов использовать расширения
есть примеры такого бинарника?
Vladimir
есть примеры такого бинарника?
он абстрактен и сферичен как конь в вакууме ) но теоретически существовать может
это не говорит об обратном?
по крайней мере для елф
Vladimir
я про x86, разумеется. в вопросе речь шла об x86
Если я не ошибаюсь, все х86-окружения обратносовместимы с x86-32
то есть просто ваять на инструкциях 386 и всё будет ок
Vladimir
ну уж SPARC MIPS и ARM точно рядом с x86 не лежали
Vladimir
Если я не ошибаюсь, все х86-окружения обратносовместимы с x86-32
от операционки зависит, ЕМНИП win64 несовместим с x32
Там спокойно крутятся 32-битные приложения
ну уж SPARC MIPS и ARM точно рядом с x86 не лежали
перед запуском выполнять шеллскрипт с выбором приложения для нужной архитектуры :-/
Vladimir
особенно инсталлеры
я про x86, разумеется. в вопросе речь шла об x86
ты имел в виду наборы инструкций?
Vladimir
ты имел в виду наборы инструкций?
да, и расширения, которые всегда можно определить по CPUID
Vladimir
начал с i386, затем проверил ID flag, затем проверил CPUID и настроил окружение под текущий проц
фриказойд фриказойд
­
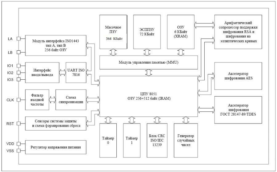
Всем привет Вкатываюсь в программирование микроконтроллеров и простую криптографию Выпала доля работать с криптопроцессором на базе intel8501 Ожидаю найти людей разбирающихся в таких вот системах
Ask
это хеон чтоль? aes-ni?
Churchill
Дело не в самом процессоре а в мк По спецификации там есть генератор случайных чисел И вопросы будут позже именно уже детально по шифрованию, связи с блоками и проч, т.к. в документации лишь уровень схемы
Churchill
Без распиновки
Ask
что за мк то?
8501 я так понимаю это мк
Churchill
MIK51SC72D
Ask
а в каком месте он интел8501 позволь уточнить?
Churchill
Churchill
полностью совместим с 8051 инструкциями но работает в 4 раза быстрее
Ask
ошибки исправлять не судьба да?)
Ask
H͚̓ü̺n̪̬̟ͣho͎̥͆wͧ: Всем привет Вкатываюсь в программирование микроконтроллеров и простую криптографию Выпала доля работать с криптопроцессором на базе intel8501 Ожидаю найти людей разбирающихся в таких вот системах
Ask
какие циферки?
Churchill
мисклик то что форварднуто- исправлению не подлежит
Ask
тоесть пофиг что по циферкам гуглится совершенно другое главное спросить?
Churchill
Развел оффтоп из-за ошибки мест в номенклатуре?
А ничего что мы нагуглить не можем
Churchill
Уточнить?
Валяй
Katya
IEEE 754 FLOATING POINT REPRESENTATION
Katya
Standard for Floating-Point Arithmetic
Aiwan \ (•◡•) / _bot
Churchill
у кого-нибудь есть манулы по работе с флэш памятью не на уровне "возьми число и укажи адрес куда записать" как класть корректно массивы в память, дополнять их желательно чтобы не было потом привязки к памяти вывести на уровень абстракции работу
Churchill
микроконтроллер kinetis k22f есть там такие байты как BACKDOOR_KEY1 и BACKDOOR_KEY2, при предъявлении который можно открыть память на запись есть ли какая уязвимость или способ обойти их?
Al
А как Флэш называется? Или ты имеешь ввиду память на борту мк?
Churchill
Нет
Churchill
Очень извиняюсь Не посмотрел на что ты форварднул
Churchill
Nor
Al
Ну вот например на форуме задаются таким-же вопросом
Al
https://community.nxp.com/thread/331414
Al
Churchill
Мм Нет Мне не для разработки Для разработки я использую другой МК Меня интересует именно, можно ли вытащить дамп прошивки
Al
Через jtag например?
Churchill
Хмм, попробую Не уверен что он будет работать
Churchill
Спасибо
Alexander
Alexander
Всем привет. Подскажите как решить такую проблему: Делаю в более-менее современной IDE - GUI turbo assembler лабу на tasm с выводом ascii пар номер - символ в виде таблицы проблема в том, что консольное окно фиксированного размера, и часть групп не влезает(как видно на скрине, строка, которая начиналась с 0 не вместилась и не отображается) Как можно пофиксить размер окна?
Сменить видеорежим
Alexander
или что вообще можно придумать в этой ситуации? Хочется отобразить все 256 пар за раз
В одну строчку?
Alexander
не, не в одну строчку, но одной большой красивой таблицей что за видеорежим?
Alexander
Сменить видеорежим
т.е я правильно понимаю, с помощью ассемблерных команд можно поправить размер окна? Или тут какая то настройка от операционки?
У тебя видеорежим 80х25
80 столбцов 25 строк
с помощью ассемблерных команд можно перейти в другой видеорежим
но там буквы попиксельно нужно будет отрисовывать, если я не ошибаюсь
что касается настроек от операционки - тебе, наверное, проще будет паузу поставить перед завершением
т.е. какое-то ожидание ввода с клавиатуры
Тогда таблица будет видна до эникей
Alexander
Нда, тогда наверно да, надо выход убрать и оставить паузу. Спасибо
Katya
#book
уже не отредактировать
Alexander
Don't use tasm
I would not use it with pleasure, but it a wish of the lecturer